Annonstext för
Europa Films Record Plating Division,
från den
amerikanska musiktidningen Billboard, 5 november 1983:
When Europa Film, one of Sweden's largest film organizations, extended
its activities into the phonograph record field in the 1940's, there
was not a single supplier of record plating equipment whose standards
met Europa Film's needs. The design and building of such a plant formed
the basis on which today's EFP System is based. In between lie over 25
years of research, development and progress.
By 1957 the reputation of Europa Film's electroforming process had
spread rapidly, and it wasn't long before the demand for similar
equipment available for purchase prompted EFP to commence manufacturing
for world-wide distribution.
Over the years, EFP has gained a wealth of experience in its own
operation of recording studios, tape duplication (both audio and video)
and, of course, a large plating plant. This devotion to the end product
is embodied in the EFP System used throughout the world. The list of
clients is impressive and extends to every continent. Constant
monitoring of these plants provides the fed-back which continues the
process of refinement to which EFP is devoted.
Today's Plating Plants can produce all kinds of matrices for AUDIO,
VIDEO, CD (Compact Disc), DM (Direct Metal Mastering) as well as
MEMORYDISC.
Anläggning från 1979.
Av det inspelade ljudbandet graverades
en
lackskiva som genom en galvanisk process först
förvandlades till en master, en så kallad fadermatris, där spåren var
negativa. I
nästa steg gjordes en modermatris, ett positiv, från vilket
pressmatrisen sedan framställdes. Bengt Runsten förfinade den här
tekniken.
|
Bengt Runsten
Svenska
Dagbladet den 5 augusti 1989:
”Ingenjör
Bengt Runsten [1918-89] föddes i Stockholm, gick i internatskola i Osby
och utbildade sig därefter vid Stockholms tekniska institut. Han
började som lärling vid Svensk Filmindustri som 17-åring [1935] och
anställdes 1944 vid Europa Film. Där blev han så småningom förste
ljudingenjör och chef för all ljudinspelning.”
Ljudteknikern
Gert
Palmcrantz i samma nummer av SvD: ”Bengt Runsten var ljudchef på
Europa
Film när jag började där som assistent 1960. Han stod då på toppen av
sin karriär som ljudingenjör. Under de tidigare åren som ljudtekniker
vid filminspelningar hade han snabbt blivit ett namn som stod för
kvalitet och utveckling. Han fann ständigt nya lösningar på akustiska
problem och kreerade snabbt både mekaniska och elektroniska hjälpmedel
inom ett område som då praktiskt taget helt levde på individuella
initiativ och egen kreativitet: filmbranschen. (…)
Redan i början
av 50-talet, när bandspelarna
kom, gick Bengt Runsten mer över till musiksidan. Som gammal
jazzdiggare insåg han snabbt fördelarna med bandet som så lätt låter
sig klippas och redigeras, till skillnad från vaxkakor och lack som
graverades direkt. Hans mångåriga erfarenhet av musikinspelning till
film, och hans strävan att ständigt förnya och förbättra ljudkvaliteten
gjorde att även grammofonbolagen började intressera sig för den nya
bandtekniken. Europa Films ägare Gustaf Scheutz hade i Bengt Runsten en
nyckelperson, som gavs allt mer ansvar. På kort tid blev Europa Film
landets ledande grammofoninspelningsstudio. Nästan samtliga
grammofonbolag förlade sina inspelningar till Europa Films många
filmhallar. (…)
Vid sidan av
inspelningsjobbet höll han på att utveckla en ny och förbättrad metod
att framställa pressmatriser för grammofonskivor. Grammofonkunder kunde
nu under samma tak också få sina matriser tillverkade.”
Europa Film i
slutet av 50-talet
I det lilla vita
huset
mitt i bild gjorde man pressmatriser
för grammofonskivor. Huset kallades ”Galvano”.
Bilden är
fotograferad av Jan Lindeström, förmodligen i slutet av 50-talet.
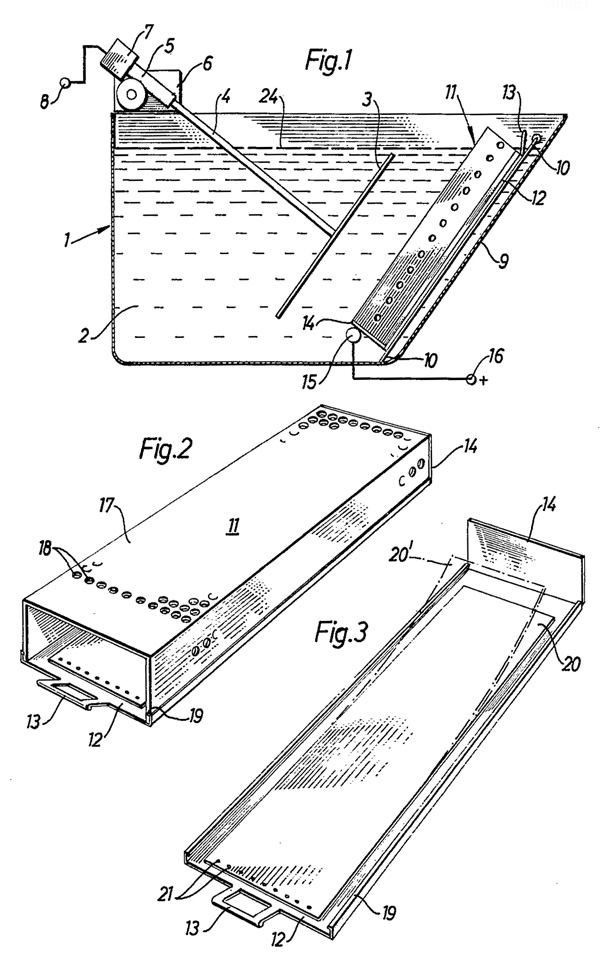
”Anordning vid
behållare för anodmaterial”
Patentansökan inkom 1973-04-16 och fick nummer SE7305397-7.
Den publicerades 1975-11-10 med nummer SE380553.
Sökande:
AB Europa Film, uppfinnare: Bengt Runsten.
Text ur patenthandligarna:
Vid matrisering av grammofonskivor är det vanligt att man såsom
anodmaterial använder metall i form av tärningar, granuler eller
liknande, vilka inlägges i en behållare av ledande material, vilken har
perforerade väggar för genomströmning av den galvaniska badvätskan.
Ifrågavarande behållare står ofta i direkt kontakt med med en i badet
anbringad anodkontaktledare, vanligtvis i form av titan eller annan
högvärdig metall. När det gäller galvansk utfällning i mycket tunna och
homogena skikt är det av vikt att icke några större partiklar lösgör
sig från anodmassan och bildar en klumpformig beläggning på materialet
som skall ytbeläggas. För att undvika dylika fenomen är det numera
vanligt att man kring ifrågavarande behållare med perforerade väggar
anbringar en påse av något lämpligt textilmaterial. Anbringandet av en
dylik påse är emellertid en besvärlig procedur, enär man måste ha den
övre delen av behållaren fri för påfyllning av anodmaterial och den
undre delen av behållaren i kontakt med anodkontaktskenan. Tyghöljet
måste därför utformas såsom en hylsa som trädes över behållaren, varvid
nederdelen måste åtsnöras så att material icke kan föras ut vid partiet
kring kontaktstången. I praktiken är det i det närmaste omöjligt att
uppnå full täthet i föreliggande avseende. Föreliggande uppfinning
avser en enkel och effektiv lösning på ifrågavarande problem.
Fig. 1 visar i
sektion en anordning för galvanisk utfällning av beläggningsmaterial
för matrisering av grammofonskivor.
Fig. 2 visar i
perspektiv en behållare enligt uppfinningen för anodmaterial.
Fig. 3 visar en
sidovägg av behållaren med en nedre bottenvägg och med en perforerad
höljedel borttagen.

Fig. 4 visar påsättningen av en
förvaringspåse på den i fig. 3 visade behållardelen.
Fig. 5 visar
påsen påträdd på nämnda behållardel.
Fig. 6 visar
hela behållaren hopsatt med inneliggande påse fylld med anodmaterial.

Bilder ur en
patenthandling från 1983:
Till
startsidan
|
|